炒股就看金麒麟分析师研报,权威,专业,及时,全面,助您挖掘潜力主题机会!
最新消息。
据中国政府采购网公示,上海微电子装备(集团)股份有限公司(以下简称“上海微电子”)中标zycgr22011903采购步进扫描式光刻机项目,设备数量为一台,成交金额10999.985万元。

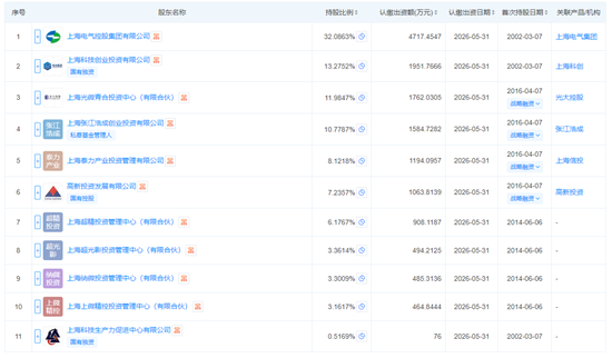
天眼查信息显示,上海微电子的股东包含上海电气控股集团有限公司、上海科技创业投资有限公司、上海光微青合投资中心(有限合伙)、上海张江浩成创业投资有限公司等。其中,上海张江浩成创业投资有限公司由A股公司张江高科(600895)全资持有。

A股市场上,今日午后,张江高科盘中直线拉升,一度涨超8%,截至收盘,涨幅仍近5%。

中国政府采购网、天眼查、Wind
微信扫一扫打赏
支付宝扫一扫打赏